The reference hub for the chiplet ecosystem

Where the chiplet marketplace starts with trust.

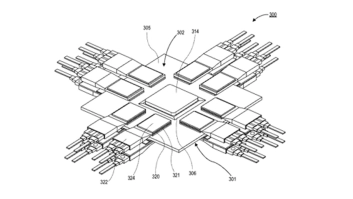
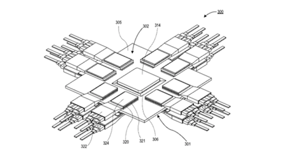
New Chiplets

HyperLight

IMDD Tx PICs

  • Reliable & qualified
  • Supports single or dual input laser to drive all 8-channels
  • CMOS-level drive voltage, featuring our patented ultra-low drive voltage design
  • > 110 GHz electro-optic bandwidth
Learn more
NewPhotonics

Near-Packaged Optics (NPO) Chiplet Solution

  • CPO/NPO connectivity for GPU/Switch/ASIC with integrated OSPic™ all-optical signal processor
  • High capacity, low latency up to 10Tbps for scale out CPO
  • From 1.6Tbps to 6.4Tbps NPO in-field serviceability with heterogeneous laser integration
Learn more
MSquare Technology

Interconnect Chiplet

  • Integrates 16 complete UCIe modules, following the standard UCIe 1.1 standard
  • Integrates one complete HBM3 IP, including the controller and PHY, following the HBM3 JESD238 standard
Learn more
BOS Semiconductors

Automotive AI Accelerator

  • Eagle-N, the first of Eagle Chiplet SoC Family is an Automotive AI Accelerator which is a unique product in the market targeting IVI and ADAS acceleration based on PCIe interface or UCIe interface with host AP.
Learn more

New Chiplet-Ready IP

Omni Design

High Performance Droplet

  • High-Performance Analog Front-Ends (AFEs): Essential for data acquisition and signal processing in various applications.
  • High-Speed Interfaces: Facilitating seamless communication between solutions. Omni Design supports various standards, including JESD204 and PCIe.
  • Custom Solutions: Omni Design can tailor SoC solutions to meet specific customer requirements.
Learn more
Ranovus

100G optical I/O chiplets

  • RANOVUS®’ Odin® optical I/O cores set industry benchmarks for high bandwidth, low power consumption and small size for AI, cloud, metaverse, and communications applications
Learn more
Numen

Memory Chiplet

  • Stealth Mode Products design to disrupt AI/Generative AI processing.
Learn more

Insights

Ecosystem Highlights




Expert Perspectives

Recent Updates

Technical Library

Whitepapers & Technical Articles

Videos